首页
索赔征集
律师简介
新闻资讯
案件进展
索赔问答
成功案例
联系我们
案件进度
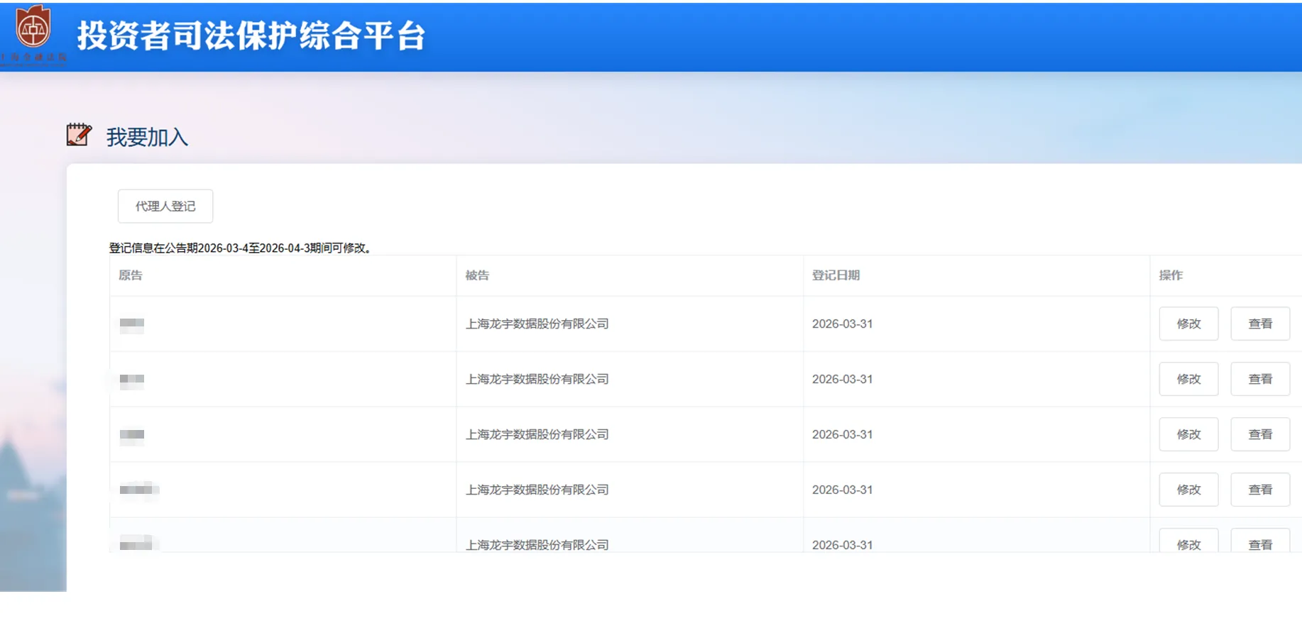
【ST龙宇】2026/3/31新增54人提交权利登记(截取部分)
时间:2026-04-20 17:51:56
来源:本站
点击:336
<
上一篇:
【通达股份】2026/3/31新增14人提交至郑州中院立案(截取部分)
>
下一篇:
【ST碳元】2026/3/31新增3人提交至南京中院立案(截取部分)