首页
索赔征集
律师简介
新闻资讯
案件进展
索赔问答
成功案例
联系我们
案件进度
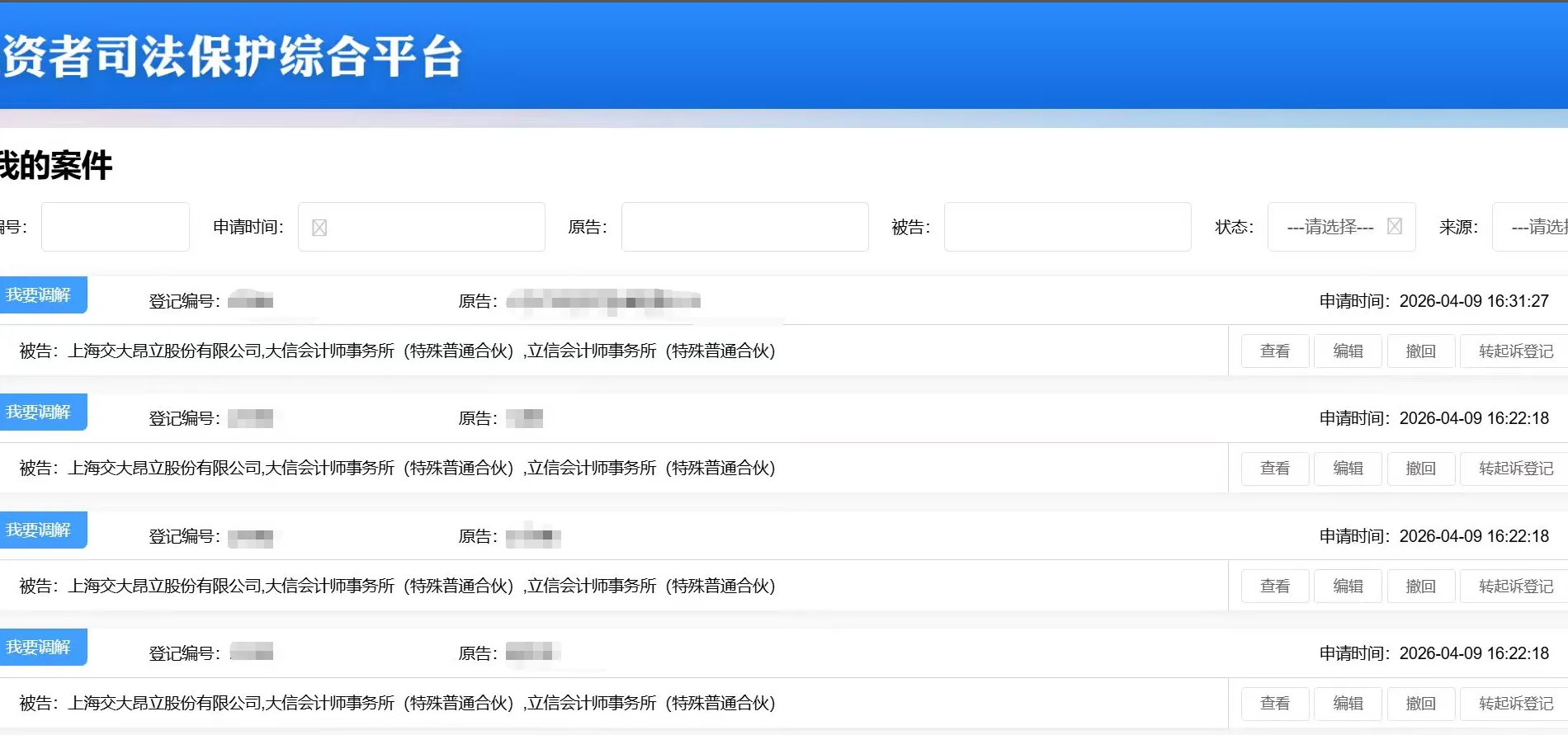
【交大昂立】2026/4/10新增4人提交至上海金融法院立案
时间:2026-04-22 17:25:32
来源:本站
点击:316
<
上一篇:
【*ST民控】2026/4/10新增11人提交至北京金融法院立案(截取部分)
>
下一篇:
【仁智股份】2026/4/10收到二审判决书(截取部分)